发布日期:2016-05-18 09:00
2016年5月11日,在F314举行了建筑CAD绘图比赛,由于这学期13级和15级同时开设建筑CAD课程,因此这次比赛是从两个年级中各自挑选10名较为优秀的同学进行比拼。
比赛之前两个年级的同学都精心准备,课下认真练习,熟悉CAD命令。比赛的内容是绘制两个建筑图,一个是建筑平面图,一个是建筑立面图。赵老师为每组打印了比赛需要绘制的这两幅图片,每组10份。在赵老师喊比赛开始的一瞬间,气氛变得异常紧张,两个年级的同学都投入到紧张的绘图比赛当中。同学们在技能和速度上进行比拼,最终15级建筑11班的李睿同学以21分钟绘制两个图形的成绩获得第一名,15级学生以自己的实力证明了青出于蓝而青于蓝!13级学习也不示弱,前十名的同学占了6名,整体水平较高。 以下是前十名比赛学生成绩公示和比赛现场的照片。
前十名成绩公示如下:(比赛开始时间为下午4:20,成绩为完成时间。)
(15级)李 睿: 4:41
(13级)吕国良: 4:48
(15级)柏嘉成: 4:53
(13级)刘天浩: 5:00
(13级)于 超: 5:03
(13级)刘涛涛: 5:06
(15级)王荣正: 5:15
(15级)吴 浩: 5:17
(13级)孔 源: 5:20
(13级)秦立基: 5:22
比赛现场图片:
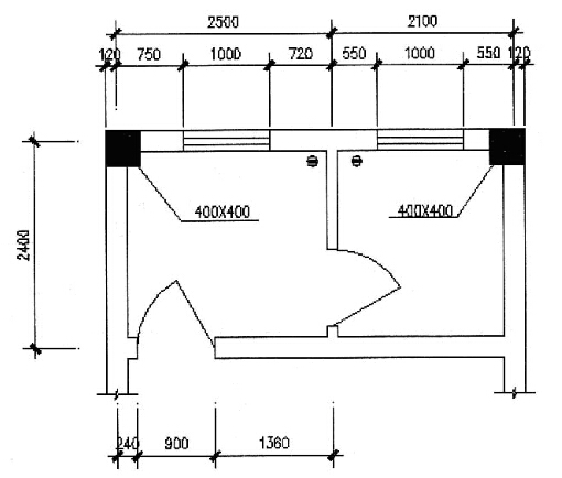
比赛绘制图:
